

D671F、D671X氣動對夾式軟密封蝶閥PN6~PN25
產品概述 D671F、D671X氣動對夾式 軟密封蝶閥 PN6~PN25可分為氣動對夾軟密封蝶閥和氣動硬密封對夾蝶閥,閥體可選用不同材料的零件,配用不同材料的密封圈,既可作切斷介質用,又可作調節介質的流量用。氣動對夾蝶閥適用于給排水、污水、食品、供暖、燃氣、...
產品型號:D671F、D671X
產品口徑(DN):50~1200(mm)
產品壓力(PN):0.6~2.5(Mpa)
更新日期:2015-05-22
24小時免費咨詢電話021-80392609
- 產品詳情
產品概述
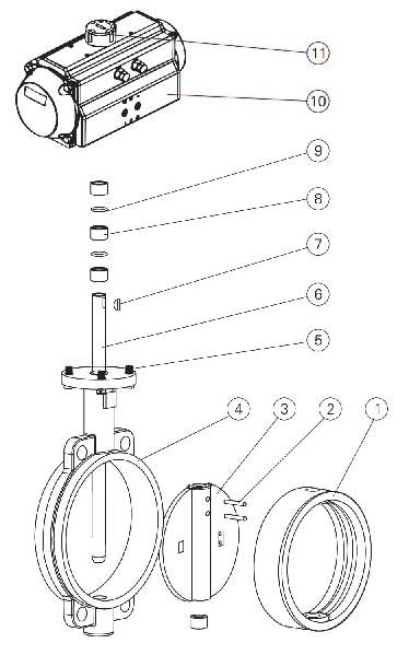
D671F、D671X氣動對夾式軟密封蝶閥PN6~PN25可分為氣動對夾軟密封蝶閥和氣動硬密封對夾蝶閥,閥體可選用不同材料的零件,配用不同材料的密封圈,既可作切斷介質用,又可作調節介質的流量用。氣動對夾蝶閥適用于給排水、污水、食品、供暖、燃氣、船舶、水電、冶金、能源系統以及輕紡等行業,特別適用于雙向密封和閥體易銹蝕場合,作調節流量和截流介質。主要零件材質表

| 序號 | 零件名稱 | 材質 | ||
|---|---|---|---|---|
| Z | C | P | ||
| 1 | 閥座 | 橡膠、四氟 | ||
| 2 | 圓錐銷 | 45鋼 | 45鋼 | 不銹鋼 |
| 3 | 蝶板 | 球墨鑄鐵鍍硬鉻 | 碳鋼或不銹鋼 | 不銹鋼 |
| 4 | 閥體 | 灰鑄鐵 | 碳鋼 | 不銹鋼 |
| 5 | 螺栓 | 35鋼 | 碳綱 | 不銹鋼 |
| 6 | 閥桿 | 45鋼 | 不銹鋼 | 不銹鋼 |
| 7 | 鍵 | 45鋼 | 45鋼 | 不銹鋼 |
| 8 | 襯套 | 銅基粉末冶金 | 銅基粉未冶金 | 銅基粉末冶金 |
| 9 | 0形圈 | 橡膠、氟椽膠 | ||
| 10 | 氣動裝置 | AT系列、AW系列 | ||
| 11 | 位置指示器 | 塑料 | ||
產品主要性能參數
| 公稱通徑DN(mm) | 50~1200 |
|---|---|
| 公稱壓力 | PN0.6、1.0、1.6、2.5MPa |
| 連接形式 | 對夾式 |
| 閥板形式 | 垂直板式 |
| 流量特性 | 近似快開型 |
| 動作范圍 | 0~90° |
| 泄露量 | 按GB/T4213-92,為Kv值的10-4,軟密封:零泄漏 |
| 基本誤差 | 帶定位器:小于全行程的±2%% |
| 回差 | 帶定位器:小于全行程的±2% |
| 配置執行機構 | GT、AT、AW系列單雙作用氣動執行器 |
| 控制方式 | 開關型(開關兩位控制)、調節型(4~20mA控制) |
主要性能規范
| 公稱通徑DN(mm) | DN50~1200 | ||||
|---|---|---|---|---|---|
| 公稱壓力 | PN(MPa) | 0.6 | 1.0 | 1.6 | 2.5 |
| 試驗壓力 | 強度試驗 | 0.9 | 1.5 | 2.4 | 3.75 |
| 密封試驗 | 0.66 | 1.1 | 1.76 | 2.75 | |
| 低壓氣密試驗 | 0.5~0.7 | ||||
| 適用介質 | 水、油、蒸氣、硝酸類(溫度≤200℃)、醋酸類(溫度≤200℃) | ||||
主要連接尺寸
| 公稱通經(DN) | 主要尺寸 | 法蘭尺寸 | ||||||||||
|---|---|---|---|---|---|---|---|---|---|---|---|---|
| D673H/F | D671F/X | A | H1 | 1.0MPa | 1.6MPa | 2.5MPa | ||||||
| L | H | L | H | K | n-Фd | K | n-Фd | K | n-Фd | |||
| 50 | 43 | 112 | 43 | 63 | 180 | 315 | 125 | 4-18 | 125 | 4-18 | 125 | 4-18 |
| 65 | 46 | 115 | 46 | 70 | 180 | 330 | 145 | 4-18 | 145 | 4-18 | 145 | 8-18 |
| 80 | 46 | 120 | 46 | 83 | 245 | 390 | 160 | 4-18 | 160 | 8-18 | 160 | 8-18 |
| 100 | 52 | 138 | 52 | 105 | 240 | 431 | 180 | 8-18 | 180 | 8-18 | 190 | 8-22 |
| 125 | 56 | 164 | 56 | 115 | 240 | 455 | 210 | 8-18 | 210 | 8-18 | 220 | 8-26 |
| 150 | 56 | 175 | 56 | 137 | 350 | 626 | 240 | 8-22 | 240 | 8-22 | 250 | 8-26 |
| 200 | 60 | 200 | 60 | 164 | 350 | 720 | 295 | 8-22 | 295 | 12-22 | 310 | 12-26 |
| 250 | 68 | 243 | 68 | 206 | 550 | 800 | 350 | 12-22 | 355 | 12-26 | 370 | 12-30 |
| 300 | 78 | 250 | 78 | 230 | 600 | 860 | 400 | 12-22 | 410 | 12-26 | 430 | 16-30 |
| 350 | 78 | 280 | 78 | 248 | 600 | 883 | 460 | 16-22 | 470 | 12-26 | 490 | 16-33 |
| 400 | 102 | 305 | 102 | 289 | 600 | 972 | 515 | 16-26 | 525 | 16-26 | 550 | 16-36 |
| 450 | 114 | 350 | 114 | 320 | 750 | 1043 | 565 | 20-26 | 585 | 16-30 | 600 | 20-36 |
| 500 | 127 | 380 | 127 | 343 | 750 | 1098 | 620 | 20-26 | 650 | 20-30 | 660 | 20-36 |
| 600 | 154 | 445 | 154 | 413 | 750 | 1236 | 725 | 20-30 | 770 | 20-33 | 770 | 20-39 |
| 700 | 165 | 480 | 165 | 478 | 750 | 1431 | 840 | 24-30 | 840 | 24-36 | 875 | 24-42 |
| 800 | 190 | 530 | 190 | 525 | 750 | 1488 | 950 | 24-33 | 950 | 24-39 | 990 | 24-48 |
| 900 | 203 | 580 | 203 | 585 | 1250 | 1615 | 1050 | 28-33 | 1050 | 28-39 | 1090 | 28-48 |
| 1000 | 216 | 650 | 216 | 640 | 1500 | 1765 | 1160 | 28-36 | 1170 | 28-42 | 1210 | 28-56 |
| 1200 | 254 | 760 | 254 | 755 | 1500 | 1976 | 1380 | 32-39 | 1390 | 32-48 | 1420 | 32-56 |
產品外形結構尺寸圖:

安裝注事事項:
1、安裝前應核對蝶閥規格、壓力、溫度、耐腐性是否滿足使用要求。 應檢查各零部件是否損壞或松動。
2、本蝶閥可安裝在任意角度的管道上,應關閉安裝為宜;焊接管道法蘭時應將閥門密封口用板擋住以防止顆粒、雜物挫傷密封面,焊后取下 閥門,對閥門密封面及管道內腔進行清潔,然后再安裝固定閥門。
3、安裝時請注意閥門關閉狀態承壓方向。
4、安裝前應將密封面(兩端密封面、蝶板密封面、閥座密封面)徹底擦干凈,去掉灰塵和污物。
5、安裝前應空試蝶閥,啟閉應靈活,啟閉位置與指針指示位置相符合。
6、手動操作順時針為關,逆時針為開,指針指示到位后不準再加力啟閉閥門。
7、閥門做壓力試驗時,不準用單法蘭進行安裝試壓,采用雙法蘭安裝試壓。其試驗壓力應符合GB/T13927-92標準規定。
8、緊固螺栓時應對稱交替進行緊固,不準依次單獨緊固。
9、限位螺釘出廠前,已經調好,不準輕易調整。若配置驅動裝置為電動、氣動請閱配套驅動裝置說明書。
10、電動蝶閥出廠時已將控制機構的啟閉行程調好。為防止電源接通時方向搞錯,用戶在次接通電源前要先手動開啟到半開位置,再按點動開關,檢查指示盤方向與閥門開啟方向一致即可。
11、發現閥門啟閉失常應查明原因進行修理和排除,防止用加力方法開關閥門,造成閥門的損壞。

-

GID-50電動真空蝶閥
GID-50~400電動真空蝶閥 說明書資料介紹: GID-50~400電動真空蝶閥 : 別名真空蝶閥,閥...
-

D671F-10P氣動防爆不銹鋼蝶閥 耐腐蝕酸堿鹽對夾閥門
*** 滬工恒 公稱直徑 50cm 數量 480個 是否支持加工定制 否 是否進口 否 包裝規格 DN5...
-

Play 電動調節型快裝蝶閥 卡盤式食品衛生級開關型閥門
*** 滬工恒 公稱直徑 25cm 數量 300個 是否支持加工定制 是 是否進口 否 包裝規格 DN2...
-

GHQ971X 電動對夾式蝶閥 塑料智能型軟密封閥門
*** 滬工恒 公稱直徑 50cm 數量 500個 是否支持加工定制 是 是否進口 否 包裝規格 DN5...


