

ZAZN-16型電動直行程雙座調節閥
產品概述: ZAZN-16型電動直行程雙座 調節閥 由電動執行機構與各種的閥體(雙座)組配而成,而具備了各種閥的特點。電動調節閥以單相交流 220V 電源為動力,接受統一的標準電信號 0~10mA DC 或 4~20mA DC,自動的控制閥門開度,達到對工作流量、壓力、溫度...
- 產品詳情
產品概述:
ZAZN-16型電動直行程雙座調節閥由電動執行機構與各種的閥體(雙座)組配而成,而具備了各種閥的特點。電動調節閥以單相交流 220V 電源為動力,接受統一的標準電信號 0~10mA DC 或 4~20mA DC,自動的控制閥門開度,達到對工作流量、壓力、溫度、液位等參數的自動控制,是生產過程自動調節的組成之一。廣泛用于電力、冶金、輕工、食品、石油、化工等工業的自動控制中。產品性能參數:
| 型號 | PN | 工作壓力MPa | 適用溫度/℃ | 輸入信號mA DC | 輸入電阻Ω | 電源電壓及頻率 | 靈敏度μA | ||||
| V | Hz | ||||||||||
| ZAZN-16 | 16 | 1.6 | ≤200 | 0~10 | 4~20 | 200 | 250 | 220 | 50~60 | ≤150 | ≤240 |
| ZAZN-40 | 40 | 4 | C、P:≤250; | ||||||||
| C、P:≤450(帶散熱片) | |||||||||||
| ZAZN-63P | 63 | 6.3 | |||||||||
| 型號 | 輸入信號/mA DC | 出軸推力/N | 行程/mm | 全行程時間/mm | |
| Ⅱ型 | DKZ-310 | 0~10 | 4000 | 16 | 12.5 |
| 25 | 30 | ||||
| DKZ-410 | 6400 | 40 | 32 | ||
| 60 | 48 | ||||
| DKZ-510 | 16000 | 60 | 37 | ||
| 100 | 62 | ||||
| Ⅲ型 | DKZ-3200 | 4~20 | 2500 | 16 | 10 |
| DKZ-3300 | 25 | 15.6 | |||
| DKZ-4400 | 6400 | 40 | 25 | ||
| DKZ-4500 | 60 | 37.5 | |||
產品零部件材料:
| 型號 | 閥體、閥蓋 | 閥芯、閥桿、閥座 | 墊片 | 填料 |
| ZAZN-16 | HT200 | 1Cr18Ni9 | 石棉橡膠板 | 聚四氟乙烯 |
| ZAZN-40 | ZG25 | 1Cr18Ni9 | 石棉橡膠板 | 聚四氟乙烯 |
| ZAZN-63P | 1Cr18Ni9 | 1Cr18Ni9 | 石棉橡膠板 | 聚四氟乙烯 |
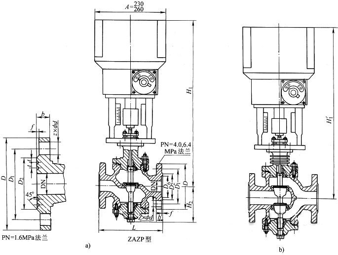
產品外形結構尺寸:
| DN | D | D1 | D2 | f | b | z×φd | t | L |
| 25 | 115 | 85 | 65 | 2 | 16 | 4×φ14 | 4 | 185 |
| 32 | 135 | 100 | 78 | 2 | 18 | 4×φ18 | 5 | 200 |
| 40 | 145 | 110 | 85 | 3 | 18 | 4×φ18 | 5 | 220 |
| 50 | 160 | 125 | 100 | 3 | 20 | 4×φ18 | 5 | 250 |
| 65 | 180 | 145 | 120 | 3 | 20 | 4×φ18 | 5 | 275 |
| 80 | 195 | 160 | 135 | 3 | 22 | 8×φ18 | 5 | 305 |
| 100 | 215 | 180 | 155 | 3 | 24 | 8×φ18 | 5 | 350 |
| 125 | 245 | 210 | 185 | 3 | 26 | 8×φ18 | 5 | 410 |
| 150 | 280 | 240 | 210 | 3 | 28 | 8×φ23 | 5 | 450 |
| 200 | 335 | 295 | 265 | 3 | 30 | 12×φ23 | 5 | 550 |
| 250 | 405 | 355 | 320 | 3 | 32 | 12×φ25 | 5 | 640 |
| 300 | 460 | 410 | 375 | 4 | 34 | 12×φ25 | 5 | 720 |
| DN | D | D1 | D2 | f | D6 | f1 | b | z×φd | H2 | H1 | H1ˊ |
| 25 | 190 | 115 | 85 | 65 | 58 | 4 | 16 | 4×φ14 | 117 | 670 | 752 |
| 32 | 210 | 135 | 100 | 75 | 66 | 4 | 18 | 4×φ18 | 120 | 673 | 754 |
| 40 | 230 | 145 | 110 | 85 | 76 | 4 | 18 | 4×φ18 | 139 | 693 | 776 |
| 50 | 255 | 160 | 125 | 100 | 88 | 4 | 20 | 4×φ18 | 144 | 698 | 804 |
| 65 | 285 | 180 | 145 | 120 | 110 | 4 | 22 | 8×φ18 | 188 | 799 | 954 |
| 80 | 310 | 195 | 160 | 135 | 121 | 4 | 22 | 8×φ18 | 208 | 809 | 964 |
| 100 | 355 | 230 | 190 | 160 | 150 | 4.5 | 24 | 8×φ23 | 220 | 821 | 976 |
| 125 | 425 | 270 | 220 | 188 | 176 | 4.5 | 28 | 8×φ25 | 268 | 907 | 1090 |
| 150 | 460 | 300 | 250 | 218 | 204 | 4.5 | 30 | 8×φ25 | 278 | 917 | 1100 |
| 200 | 560 | 375 | 320 | 282 | 260 | 4.5 | 38 | 12×φ30 | 320 | 959 | 1142 |
| 250 | 655 | 445 | 385 | 345 | 313 | 4.5 | 42 | 12×φ34 | 441 | 1161 | 1309 |
| 300 | 735 | 510 | 450 | 408 | 364 | 4.5 | 46 | 16×φ34 | 465 | 1175 | 1355 |
| DN | D | D1 | D2 | f | D6 | f1 | b | z×φd | H2 | H1 | H1ˊ |
| 25 | 205 | 135 | 100 | 78 | 2 | 58 | 4 | 4×φ18 | 117 | 670 | 752 |
| 32 | 220 | 150 | 110 | 82 | 2 | 66 | 4 | 4×φ23 | 120 | 673 | 754 |
| 40 | 240 | 165 | 125 | 95 | 3 | 76 | 4 | 4×φ23 | 139 | 693 | 776 |
| 50 | 265 | 175 | 135 | 105 | 3 | 88 | 4 | 4×φ23 | 144 | 698 | 804 |
| 65 | 295 | 200 | 160 | 130 | 3 | 110 | 4 | 8×φ23 | 188 | 799 | 954 |
| 80 | 325 | 210 | 170 | 140 | 3 | 121 | 4 | 8×φ23 | 208 | 809 | 964 |
| 100 | 370 | 250 | 200 | 168 | 3 | 150 | 4.5 | 8×φ25 | 220 | 821 | 976 |
| 125 | 440 | 295 | 240 | 202 | 3 | 176 | 4.5 | 8×φ30 | 268 | 907 | 1090 |
| 150 | 475 | 340 | 280 | 240 | 3 | 204 | 4.5 | 8×φ34 | 278 | 917 | 1100 |
| 200 | 570 | 405 | 345 | 300 | 3 | 260 | 4.5 | 12×φ34 | 320 | 959 | 1142 |
| 250 | 670 | 470 | 400 | 325 | 3 | 313 | 4.5 | 12×φ41 | 441 | 1161 | 1309 |
| 300 | 750 | 530 | 460 | 412 | 4 | 364 | 4.5 | 16×φ41 | 465 | 1175 | 1355 |
產品外形結構尺寸圖:

電動調節閥安裝與使用時注意事項:
(1)調節閥屬于現場儀表,要求環境溫度應在-25~60℃范圍,相對濕度95%.如果是安裝在露天或高溫場合,應采取防水,降溫措施.在有震源的地方要遠離振源或增加防振措施.(2)調節閥一般應垂直安裝,特殊情況下可以傾斜,如傾斜角度很大或者閥本身自重太大時對閥應增加支承件保護.
(3)安裝調節閥的管道一般不要離地面或地板太高,在管道高度大于2m時應盡量設置平臺,以利于操作手輪和便于進行維修.
(4)調節閥安裝前應對管路進行清洗,排除污物和焊渣.安裝后,為保證不使雜質殘留在閥體內,還應再次對閥門進行清洗,即通入介質時應使所有閥門開啟,以免雜質卡住.在使用手輪機構后,應恢復到原來的空檔位置.
(5)為了使調節閥在發生故障或維修的情況下使生產過程能繼續進行,調節閥應?**醞ü藶?同時還應特別注意,調節閥的安裝位置是否符合工藝過程的要求.
(6)電動調節閥的電氣部分安裝應根據有關電氣設備施工要求進行.如是隔爆型產品應按《爆炸危險場所電氣設備安裝規范》要求進行安裝.如現場導線采用SBH型或其它六芯或八芯,外徑為Φ11.3mm左右的膠皮安裝電纜線.在使用維修中,在易爆場所嚴禁通電開蓋維修和對隔爆面進行撬打.同時在拆裝中不要磕傷或劃傷隔爆面,檢修后要還原成原來的隔爆要求狀態.
(7)執行機構的減速器拆修后應注意加油潤滑,低速電機一般不要拆洗加油.裝配后還應檢查閥位與閥位開度指示是否相符.

聲明:本文中所有文字、數據、圖片均只適用于參考,ZAZN-16型電動直行程雙座調節閥性能參數、結構尺寸參數、價格等詳情,請聯系我們,電話:021-80392609。
-

GHJ991W-16P電動針型調節閥 不銹鋼卡套連接信號輸
*** 滬工恒 公稱直徑 6cm 數量 560個 是否支持加工定制 是 是否進口 否 包裝規格 DN6 ...
-

微型電動球閥 不銹鋼內螺紋 絲扣微型閥 小型調節球形
*** 滬工恒 公稱直徑 15cm 數量 450個 是否支持加工定制 是 是否進口 否 包裝規格 DN1...
-

GHY43F衛生級快裝式減壓閥 不銹鋼卡盤卡箍卡套閥
*** 滬工恒 數量 580個 是否支持加工定制 是 是否進口 否 包裝規格 DN40-DN50 產地 蘇...
-

微小流量調節閥 電動精確控制小流量比例調節閥門
*** 滬工恒 驅動方式 電動 連接形式 螺紋 特殊功能 高精度 零部件及配件 執行器 形態 ...


