

ZAJV電動調節、切斷V型球閥
產品概述 ZAJV電動調節、切斷V型球閥采用的偏心結構,具有結構緊湊,密封性能好、使用壽命長等特點,兼備調節和切斷兩種功能。由于閥芯存在凸輪偏心,可以減小閥座磨損,增加密封性能。廣泛應用于化工、電力、輕紡、食品、醫藥、造紙 等行業工藝介質進行...
- 產品詳情
產品概述
ZAJV電動調節、切斷V型球閥采用的偏心結構,具有結構緊湊,密封性能好、使用壽命長等特點,兼備調節和切斷兩種功能。由于閥芯存在凸輪偏心,可以減小閥座磨損,增加密封性能。廣泛應用于化工、電力、輕紡、食品、醫藥、造紙 等行業工藝介質進行截止或者調節控制。本系列產品公稱壓力等級 PN1.6、2.5、4.0、6.4;使用 溫度-60—450℃,金屬密封型密封等級為V級,軟密封型為Ⅵ級,達到零泄露,流量特性為近似等百分比。主要技術參數
| 本體部分 | |
|---|---|
| 閥體形式 | 直通鑄造偏心球型閥 |
| 閥體材質 | ZG230-450 ZG1Cr18Ni9Ti |
| 公稱通徑 | DN25-DN400 |
| 公稱壓力 |
PN1.6 2.5 4.0 6.4MPa ANSI 150 300LB JIS 10K 20K 30K |
| 連接形式 | 法蘭 FF RF RTJ 等 |
| 結構長度 | 符合IEC534 |
| 閥蓋形式 | 一體式 |
| 填料 | 聚四氟乙烯 柔性石墨等 |
| 密封墊 | 金屬夾石墨密封墊 四氟乙烯墊等 |
| 閥內部件 | |
| 閥芯型式 | 偏心截球體 |
| 流量特性 | 近似等百分比 |
| 內件材質 | 標準材質組合及使用溫度、壓力請參閱附表 |
| 執行機構 | |
| 電動 | 角行程電動執行結構 |
主要零件材料及內部結構

| 本體材質為碳鋼 | ||||
| 1 | 閥體 | WCB | LCB | WC9 |
| 2 | 密封圈 | PTFE/PPL | ||
| 3 | 墊片 | PTFE/金屬石墨纏繞墊片 | ||
| 4 | 球 | 根據實際工況而定 | ||
| 5 | 填料 | PTFE/石墨 | ||
| 6 | 閥桿 | 2Cr13 | 2Cr13 | 2Cr13 |
| 7 | 填料壓蓋 | WCB | LCB | WC9 |
| 本體材質為不銹鋼 | ||||
| 1 | 閥體 | CF8 | CF8M | CF3M |
| 2 | 密封圈 | PTFE/PPL | ||
| 3 | 墊片 | PTFE/金屬石墨纏繞墊片 | ||
| 4 | 球 | 根據實際工況而定 | ||
| 5 | 填料 | PTFE/石墨 | ||
| 6 | 閥桿 | 304 | 316 | 316L |
| 7 | 填料壓蓋 | CF8 | CF8M | CF3M |
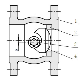
偏心示意圖

偏心距 E 的合理設計,關閉時,球芯產生一個偏心力,使球芯緊壓密封圈,達到密封效果;打開時,球芯與密封圈迅速脫離,有效防止密封圈磨損;
規格與技術參數
| 公稱通徑 DN(mm) | 25 | 32 | 40 | 50 | 65 | 80 | 100 | 125 | 150 | 200 | 250 | 300 | 350 | 400 | |||
| 額定流量系數 Kv | 20 | 30 | 50 | 100 | 150 | 240 | 370 | 620 | 940 | 1540 | 2400 | 3900 | 6150 | 9800 | |||
| 公稱壓力 PN(MPa) | 1.6 4.0 6.4 | ||||||||||||||||
| 流量特性 | 近似等百分比 | ||||||||||||||||
| 固有可調比 | 100 | ||||||||||||||||
| 額定轉角(°) | 90 | ||||||||||||||||
| 配用執行機構 | 電動執行機構 | 代 號 | 參考執行機構 | ||||||||||||||
| 扭矩(Nm) | |||||||||||||||||
| 電源 | 220V.AC 或者 380V.AC | ||||||||||||||||
| 輸入信號 | 4~20(mA.DC)、1~5(V.DV)或以上信號分程控制 | ||||||||||||||||
主要性能指標
| 序號 | 項 目 | 電動 V 型球閥 | ||
| 1 | 基本誤差<(%) | ±2.5 | ||
| 2 | 回差<(%) | 2 | ||
| 3 | 死區<(%) | 3 | ||
| 4 | 始終點偏 差<(%) | 氣開 | 始點 | ±1.5 |
| 終點 | ||||
| 5 | 額定轉角偏差<(%) | 0.5 | ||
| 6 | 額定流量系數偏差<(%) | ±10 | ||
流量特性曲線

| 轉角 | 0 | 10 | 20 | 30 | 40 | 50 | 60 | 70 | 80 | 90 |
| Q/Qmax | 1 | 1.7 | 2.8 | 4.6 | 7.7 | 12.9 | 21.5 | 35.9 | 59.9 | 100 |
連接尺寸及標準
連接方式:對夾式(DN25-50) ;法蘭式(DN65-400);法蘭標準:PN1.6 鋼制法蘭按GB/T9113.1、GB/T9119.8; PN4.0、6.4 鋼制法蘭按GB/T9113.2、GB/T9115.19;
密封面形式:PN1.6 為突面;PN4.0、6.4 為凹凸面,閥體為凹面;
連接方式:閥體法蘭端面距可按照用戶指定的標準制造; 如:ANSI、DIN、JIS 等標準;
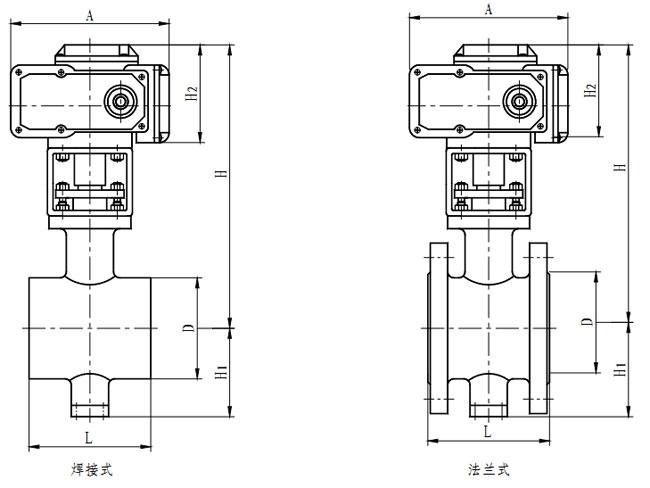
電動偏心球閥外形尺寸及重量
|
公稱通徑 DN |
H | H1 | H2 | L | A | D | 重量(Kg) |
| 25 | 350 | 57 | 103 | 50 | 158 | 64 | 16 |
| 32 | 370 | 60 | 103 | 55 | 158 | 76 | 19 |
| 40 | 380 | 63 | 103 | 60 | 158 | 82 | 23 |
| 50 | 420 | 92 | 129 | 75 | 207 | 100 | 25 |
| 65 | 470 | 100 | 141 | 145 | 256 | 57 | |
| 80 | 490 | 108 | 141 | 165 | 256 | 73 | |
| 100 | 520 | 117 | 141 | 194 | 256 | 85 | |
| 125 | 650 | 140 | 200 | 210 | 380 | 204 | |
| 150 | 695 | 177 | 200 | 222 | 380 | 231 | |
| 200 | 780 | 200 | 200 | 243 | 380 | 258 | |
| 250 | 1300 | 253 | 610 | 297 | 850 | 385 | |
| 300 | 1405 | 270 | 610 | 338 | 850 | 436 | |
| 350 | 1705 | 300 | 807 | 450 | 920 | 1030 | |
| 400 | 1810 | 340 | 807 | 500 | 920 | 1120 |
產品外形結構尺寸圖


聲明:本文中所有文字、數據、圖片均只適用于參考,ZAJV電動調節、切斷V型球閥性能參數、結構尺寸參數、價格等詳情,請聯系我們,電話:021-80392609。
-

不銹鋼電動調節針閥 高精度小口徑小流量 高壓智能防爆
參數 名稱: 調節型電動針型閥 電壓: 24V/220V/380V 公稱通徑: DN8mm-DN20 ; 公稱壓力:...
-

GHJ991W-16P電動針型調節閥 不銹鋼卡套連接信號輸
*** 滬工恒 公稱直徑 6cm 數量 560個 是否支持加工定制 是 是否進口 否 包裝規格 DN6 ...
-

微型電動球閥 不銹鋼內螺紋 絲扣微型閥 小型調節球形
*** 滬工恒 公稱直徑 15cm 數量 450個 是否支持加工定制 是 是否進口 否 包裝規格 DN1...
-

GHY43F衛生級快裝式減壓閥 不銹鋼卡盤卡箍卡套閥
*** 滬工恒 數量 580個 是否支持加工定制 是 是否進口 否 包裝規格 DN40-DN50 產地 蘇...


